Char-Broil is Overcoming Electric Grill Limitations with a Power Booster

Subscribe to the free weekly Weekend Refuel newsletter

 

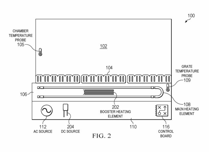
Last year Char-Broil released the EDGE, which is a first of its kind, full-size, electric grill. We reviewed the EDGE and liked it, but did note its long heat-up times. That’s a limitation for all electric grills from the voltage in a common household outlet in the US. Char-Broil isn’t letting that stop them though from developing more powerful electric grills.

A common complaint from grill companies about bringing electric grills to market in the US is the power limitation. With a common 110v outlet, you’re limited to about 1,800 watts to play with.

Get premium content access with no ads for $8.

Already a premium member? Sign In Here

SourceUSPTO
RELATED ARTICLES

Most Popular