Is Battery Power the Future of Pellet Grills? Traeger Files a Patent

Subscribe to the free weekly Weekend Refuel newsletter

 

HALO made a big splash last week when they released the first full-size, battery powered pellet grill. It’s a step forward with grilling convenience, but will other manufacturers follow suit?

Current Battery Powered Grills

The HALO Prime series pellet grills can run off battery power for an advertised 15-20 hours per charge. It eliminates the need to be close to an outlet when grilling at your house, but HALO also took it a step further by designing the grill to be able to lift-off the cart. This allows you to easily take the grill with you.

Get premium content access with no ads for $8.

Already a premium member? Sign In Here

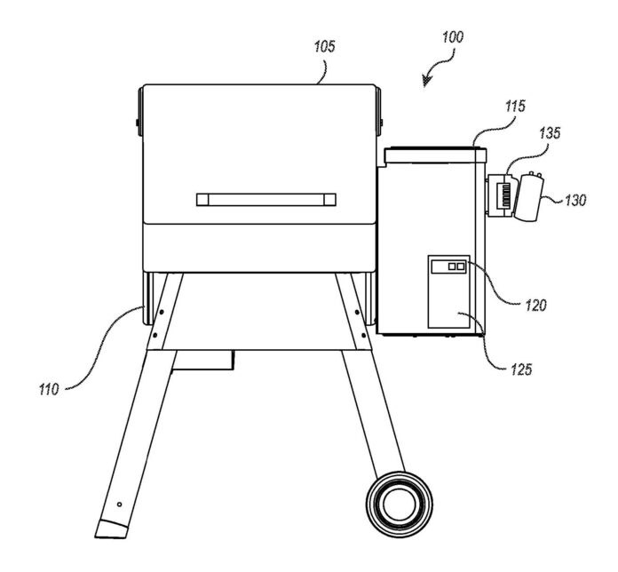
SourceUSPTO
RELATED ARTICLES

Most Popular