HomeGrill ManufacturersOklahoma Joe's is Developing a Two Zone Pellet Grill

Subscribe to the free weekly Weekend Refuel newsletter

Oklahoma Joe’s is Developing a Two Zone Pellet Grill

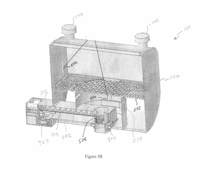
A limitation of current pellet grills on the market, is they only offer single zone cooking. Beyond that, there can also be dramatic temperature difference at different spots in the grill. The temperature gradient in the grill is a design byproduct and not something that can be controlled. Oklahoma Joe’s is looking to change that with a controllable, two zone pellet grill.

How it Works

According to a patent filing this week, Oklahoma Joe’s has been working on a way to create two zones in a pellet grill. With a setup similar to their Marshal Centerbox charcoal grill, the pellet grill design has two exhaust vents on the top of the grill.

Get premium content access with no ads for $8.

Already a premium member? Sign In Here

SourceUSPTO
RELATED ARTICLES

Most Popular