As a leader in the gas grill segment, it’s important for Weber to keep improving the functionality of gas grills. Last week CookOut News reported on a dual-burner assembly that Weber developed and now there’s another patent to improve gas grills. A patent has been released showing Weber has developed an L-shaped smoker box with an attached water pan to increase smoke times.
Smoker Box
A smoker box is a simple way to add more smoke to your food when grilling. Traditionally rectangular in shape, they are filled with wood chunks or pellets that smolder inside of the box to create smoke. They are most often used with gas grills but can be used in other applications such as pellet grills or even electric grills.

L-Shaped Design
While the basic rectangular design works well, and is even integrated in some gas grills, Weber thinks there may be advantages of an L-shaped design.

As can be seen in the above diagram from Weber’s patent the smoker box is placed across the grease deflector bars in a gas grill. It’s positioned so that the left side of the smoker box and water pan are resting on a deflector bar (labeled 2224) without a burner beneath it. The right side of the smoker box rests on a deflector bar (labeled 2222) above a burner (labeled 2214), creating zones within smoker box.
Smoker Box Zones
The placement shown above makes it so there are 3 zones within the smoker box. The zones are named as follows in the patent.
- Ignition zone – labeled 1308
- Transition zone – labeled 1310
- End zone – labeled 1312
What’s advantageous of the zoned setup is it slows the burn rate within the smoker box, allowing for longer smoke times. The ignition zone is directly over a burner, so the smolder starts there first, then slowly follows along the L shape. It eventually reaches the end zone, once all of the content of the smoker box are done burning.
Water Pan
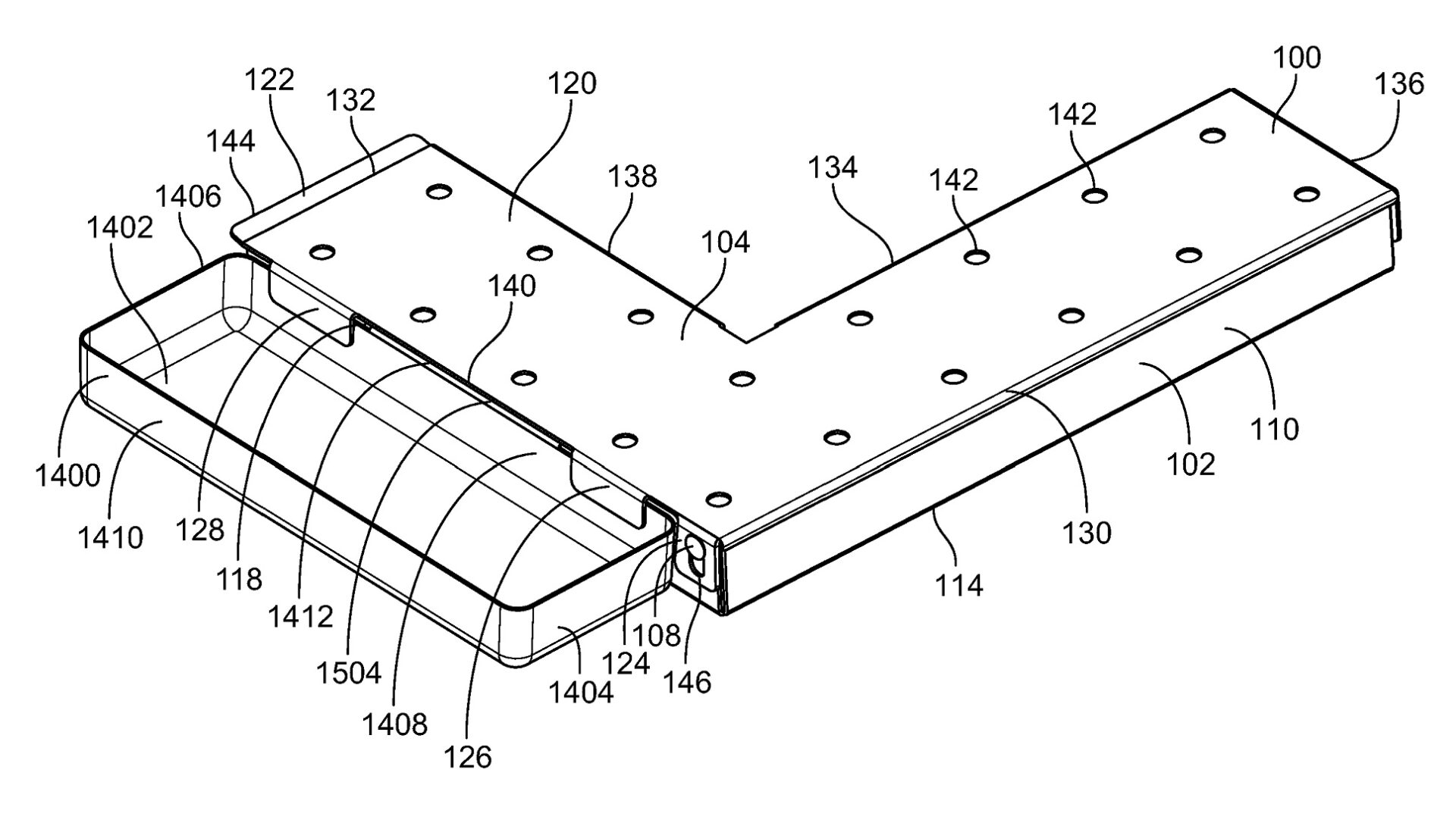
The water pan (labeled 1400) that’s attached the smoker box design in the figure shown above is detachable to make it easier to fill. People often use water pans to increase the moisture content within the grill, in the hopes of making their food juicier. The patent alleges that the increased moisture content enables smoke to better adhere to food being cooked.
This is a nice design because it tucks the water pan away, under the grill grates. Often when a water pan is used in smoking it takes up cooking space because it’s just set on the grill grates.
Summary
If the L-shaped smoker box design works as the patent claims, it’s a great way to increase smoke times in a gas grill. The attached water pan is an elegant solution to free up more grill space. As with all patents, we don’t know if this will ever make it to market. We hope that it does though.
