Blackstone Products, the company behind the popular Blackstone griddle is looking for new ways to innovate and grow. In their investor presentation from the end of last year, they estimate they have an 80% share of the griddle market. That’s great, but also could mean growing their primary griddle business is capped largely by how quickly the overall griddle category can grow. As part of their growth strategy, they noted that they are looking at pizza ovens and other new products. As of the end of last year, they said that 5 new product lines are in development. Could launching a new pellet grill be one of them?
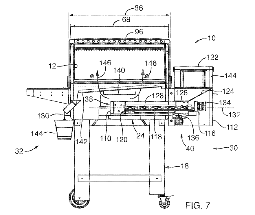
With Blackstone’s focus on new product development they had 28 patents with another 30 pending as of the end of last year. Looking through their patents, we noticed that 2 of them are for pellet grills. The first is a very traditional pellet grill design with a side mounted hopper and an auger that drives pellets into a fire box. The difference from other pellet grills is they are venting smoke through the top of the grill. The pellet grill has what appears to be a side shelf with accessory hooks and a little open storage shelf in front. Below are images of grill and a cutaway from their patent.
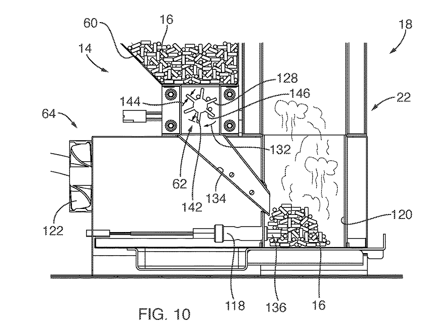
Blackstone’s second pellet grill related patent has a unique design compared to what’s on the market. It’s a smoker with two side shelves and a closed area below the cooking area. In that area they have an interesting design where a hopper is a little bit off the ground and a gear is underneath that drops pellets down a shoot into a fire pot at the bottom of the grill. From there, smoke is created that goes up a chimney which is underneath the grill grates. With this design, the grease catch can is housed in the cabinet under the grates as well. We’ve included several pictures below that show their design ideas from the patent.
Quite a few of their previous patents have resulted in consumer products. We don’t know if any of the Blackstone grill designs will every make production, but it would great to see them join the other new pellet grills released this year.






